Scroll Type Dry Vacuum Pump Model: SGT-100
ULVAC
Print/Download
For more information on ULVAC products, purchase, and/or consideration, click here.
Vacuum Pump Suction and Exhaust Filter
This filter can trap acidic gas, oil mist effectively by using ion-exchanged resin fiber. Filter can be placed both vacuum and exhaust side and filter can be replaceable.
This filter can trap acidic gas, oil mist effectively by using ion-exchanged resin fiber. Filter can be placed both vacuum and exhaust side and filter can be replaceable.
Features
- Filters usable for vacuum pumps can be used for various types of vacuum equipment.
- Filter can be placed both suction and exhaust side.
- Reaction products and powders discharged from equipment are absorbed and collected by the elements of an ion exchange resin fiber.
- Not only powders in the exhaust gas but acid gas/oil-mist can also be captured efficiently.
- When the vacuum pump and pump oil are kept clean over a long period of time this can help to avoid a vacuum pump malfunction and reduce the number of oil changes.
- KF-clamps, reducers, center rings, etc. are additionally required for attachment (contact us separately.)
Specification
| Model | SGT-100 | SGT-200 |
| Filter system | Out・In・Pass | |
| Applicable models | 500L/min or less/td> | |
| Pressure range | 0.1MPa | |
| Ambinet temperature | 7 - 40℃ | |
| Ambient humidity | 85%(non condensing) | |
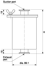
| Suction port | KF-25 | KF-40 |
| Exhaust port | KF-25 | KF-40 |
| Height | 154mm | 234mm |
|
*Since the "SGT-200" uses two filter elements of the same size as the "SGT-100", the capture rate is doubled.
When a small amount of powder is mixed in with the suction gas, it is recommended to use the “SGT-100” in order to positively suction powder, use the “SGT-200”. |
